系统账号密码如下
http://poster.tpbysj.cn/admin/Index/index.html
账号:admin
密码:6yhn7ujm
文字版教程下载可点击:
数据查询教程.docx
大白话:每次学习同学们的冒泡数
位置:早学习统计->学员学习统计

查询
(1)可以按学习时段查询,选项:早上/晚上
(2)可以按学习日期,需要手动输入。例如:2025-05-12
(3)可以选择群组,例如7群
(4)可以选择班级,例如7群1班
(5)可以选择学习小组,例如7群1班1组
(6)可以按学员编号和法名
(7)可以按消息数查询
以上查询条件可以单个使用,也可以组合使用。

排序:
(1)可以按消息数排序,升序/降序。
(2)可以按作业数排序,升序/降序。
(3)可以按积分数排序,升序/降序。
(4)可以按名次数排序,升序/降序。
以上排序条件,可以单个使用,也可以组合使用。
现在基本上都按消息数查询,可以通过点击下图中画红框里的箭头来进行升序或者降序排列。

大白话:每次学习同学们的冒泡内容
位置:早学习统计->学习明细

常用功能:按编号来查询某一个同学的消息内容。

大白话:每次学习4个班的排名
位置:早学习统计->班级数据

常用功能:按日期和学习时段来查询当次学习班级排名。
例如:查询2025-05-12日,早学习4个班级的排名。如下图所示:日期输入2025-05-12,群组选择7群即可。然后再点击名次中的上下箭头即可将名次进行升序/降序排列。


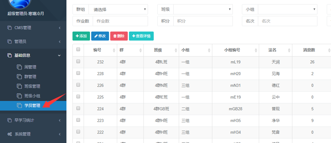
大白话:每周学习同学们的冒泡数总和
位置:基础信息->学员管理

该功能与功能一类似,不同的时,此处统计是本周学员冒泡的总和,是累加的。
大白话:每周学习4个班级的排名
位置:基础信息->班级管理

常用功能:查询某群所有班级的排名。例如查询7群。

再点击名次中的上下箭头,即可按升序/降序排列。

大白话:和之前2次打七一样,录入平时分享或者心得的积分,分数自定义。
位置:早学习统计->手动计分

点击添加,即可录入分数。如下图所示,依次选择群组、班级、分类,输入分数,写好备注和时间,确认即可。

录入后,不会立刻统计到总分,主要是怕录入错误,所以加了一步审核。点击“修改”,如下图所示,确认信息无误后,再次提交,则分数分统计到班级总分。

一次发布 随处可见